به گزارش پرشین خودرو ، آخرین پتنت اپل محصولی را به نمایش میگذارد که میتواند نسل بعدی اپل واچ باشد. این پتنت «ماژول صفحه نمایش و برنامه های سیستم» نام دارد و به توصیف یک صفحه نمایش LED میپردازد که میتوان از در تولید پوشیدنیها و تمامی گجتهای تاشو یا رول شونده استفاده کرد.
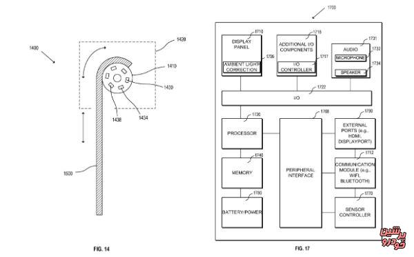
در این پتنت ساعت هوشمندی به تصویر کشیده میشود که بند ندارد. بدین صورت که تمامی محیط این ساعت توسط نمایشگر رول شونده یکپارچه پوشیده شده است.
نمایشگر رول شونده
این صفحه نمایش، نه تنها میتواند قابلیتهای جدیدی به ساعتهای هوشمند اضافه کند، بلکه گزینههای ظاهری متفاوتی هم در اختیار کاربر میگذارد چرا که هر شخص میتواند در هر لحظه رنگ و طرح کلی ساعت خود را تغییر دهد و آن را با لباسش ست کند.
البته ایده رول شدن یک صفحه نمایش دور مچ دست، چندان نوآورانه نیست چرا که پیشتر یک گجت این چنینی با نام توپیاآلفا معرفی شده. کمپانی نوبیا یکی از زیر شرکتهای ZTE به حساب میآید و تابستان تلفن هوشمندی را معرفی کرد که کاربر میتوانست آن را دور مچ دستش ببندد.
با این وجود به نظر میرسد که اپل برنامهای طولانی برای استفاده از نمایشگر رول شونده در دیگر محصولاتش را هم دارد. در تصویر دیگری از این پتنت یک نمایشگر رول شونده به تصویر کشیده میشود که دور قرقرهی خاصی رول شده و جمع می شود. این مکانیزم، به نمونههای اولیه تلویزیونهای رول شونده شباهت زیادی دارد.
بدین ترتیب بعید نیست در آیندهای نزدیک شاهد معرفی تلویزیون رول شونده اپل باشیم. با این وجود ساخت چنین محصولاتی زمان خواهد برد و بعید است تا چند سال آینده خبری از آنها منتشر گردد.

نظر شما