به گزارش پرشین خودرو به نقل از ایسنا، شرکت آمازون تاکنون برای ارائه بستههای خریداری شده از جانب مشتریان روشهای گوناگونی را استفاده کرده است. حال این شرکت پتنت جدیدی را در این رابطه به ثبت رسانده است.
شاید این روش به نظر مشتریان عجیب و غریب به نظر برسد زیرا در مفهوم این پتنت آمده که مشتریان در آینده قادر خواهند بود بستههای خریداری شده خود را از اتوبوسهای عمومی بردارند.
گفتنی است بستهها حاوی تلفن همراه خواهند بود. این حق اختراع ۵ سال پیش به ثبت و هفته گذشته به اعلام عموم رسید.
با این قابلیت جدید دیگر نیازی نیست که مشتریان برای برداشتن محصول خود پیاده روی کرده و یا سوار ماشین شوند.
زیرا زمانیکه اتوبوس حامل بسته به آنها نزدیک شد به مشتریان اطلاع داده میشود.
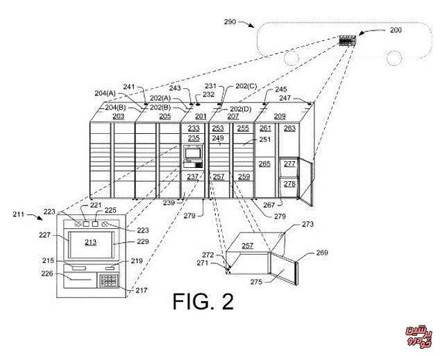
زمانیکه یک بسته توسط مشتریان سفارش داده شد، به کاربران یک کد مجوز داده میشود تا بتوانند به محل ذخیرهسازی بسته در اتوبوس دسترسی پیدا کنند.
بستهها در یک جعبه در اتوبوس گذاشته میشوند و مشتریان باید کد مذبور را به یک صفحه لمسی و یا کیبورد وارد کنند تا قفل جعبه باز شده و جعبه را بردارند.
ممکن است قابلیت تشخیص چهره و اثر انگشت نیز برای بازگشایی قفل مورد استفاده قرار گیرد.
در جزئیات این پتنت آمده که مشتریان میتوانند برای دریافت بسته کارت بکشند.
گفتنی است زمان و محل تحویل بسته به مشتریان اطلاع داده میشود و میتوانند خود نیز این محل را انتخاب کنند.
به عنوان مثال ممکن است یک مشتری تمایل داشته باشد بسته خود را در اتوبوسی که هر روز سوار آن میشود دریافت کند.

نظر شما